Plus de frontières
Maintenant que l’annonce du PSVR2 est faite, on est impatient d’avoir plus de détails sur le nouveau périphérique de réalité virtuelle de Sony. Des informations devraient arriver d’ici relativement peu, mais Game Rant a déjà remarqué la mise à jour d’un brevet permettant de rallier mondes réel et virtuel.
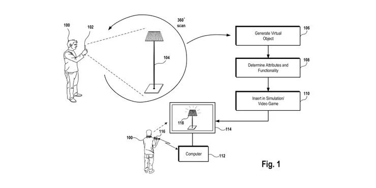
Ce brevet indique qu’il serait possible de scanner des objets afin d’en faire des éléments virtuels à part entière, à 360 degrés. L’utilisateur serait ensuite en mesure de choisir les propriétés des éléments en question.
Comme toujours avec les brevets, cela ne garantit pas que cette caractéristique sera implémentée par Sony, mais sur le papier elle existe.
